本仓库不再更新,最新内容请移步到博客深入浅出RISC-V调试。
1.JTAG简介
目前RISC-V官方支持的调试方式是JTAG(Joint Test Action Group),而ARM支持的调试方式有JTAG和SWD(Serial Wire Debug)这两种。
JTAG是一种国际标准的调试方式(IEEE1149.1),而SWD是ARM开发的。
标准JTAG采用四线方式,分别是TCK、TMS、TDI和TDO,有一个可选的TRST引脚。
-
TCK:测试时钟输入。
-
TMS:测试模式选择。
-
TDI:测试数据输入。
-
TDO:测试数据输出。
在调试时需要用到一个工具,比如JLink或者CMSIS-DAP,对于这个工具,在这里称为JTAG主机(JTAG host),而嵌入在芯片内部的JTAG称为JTAG从机(JTAG slave),需要注意的是上面这些信号的输入输出方向是对于JTAG从机来说的。下文中如无特别说明,JTAG都是指JTAG从机。
一个JTAG主机可以同时对多个JTAG从机进行调试,这通过JTAG扫描链(JTAG Scan Chain)完成,如图1所示。
图1 一个JTAG主机连接多个JTAG从机
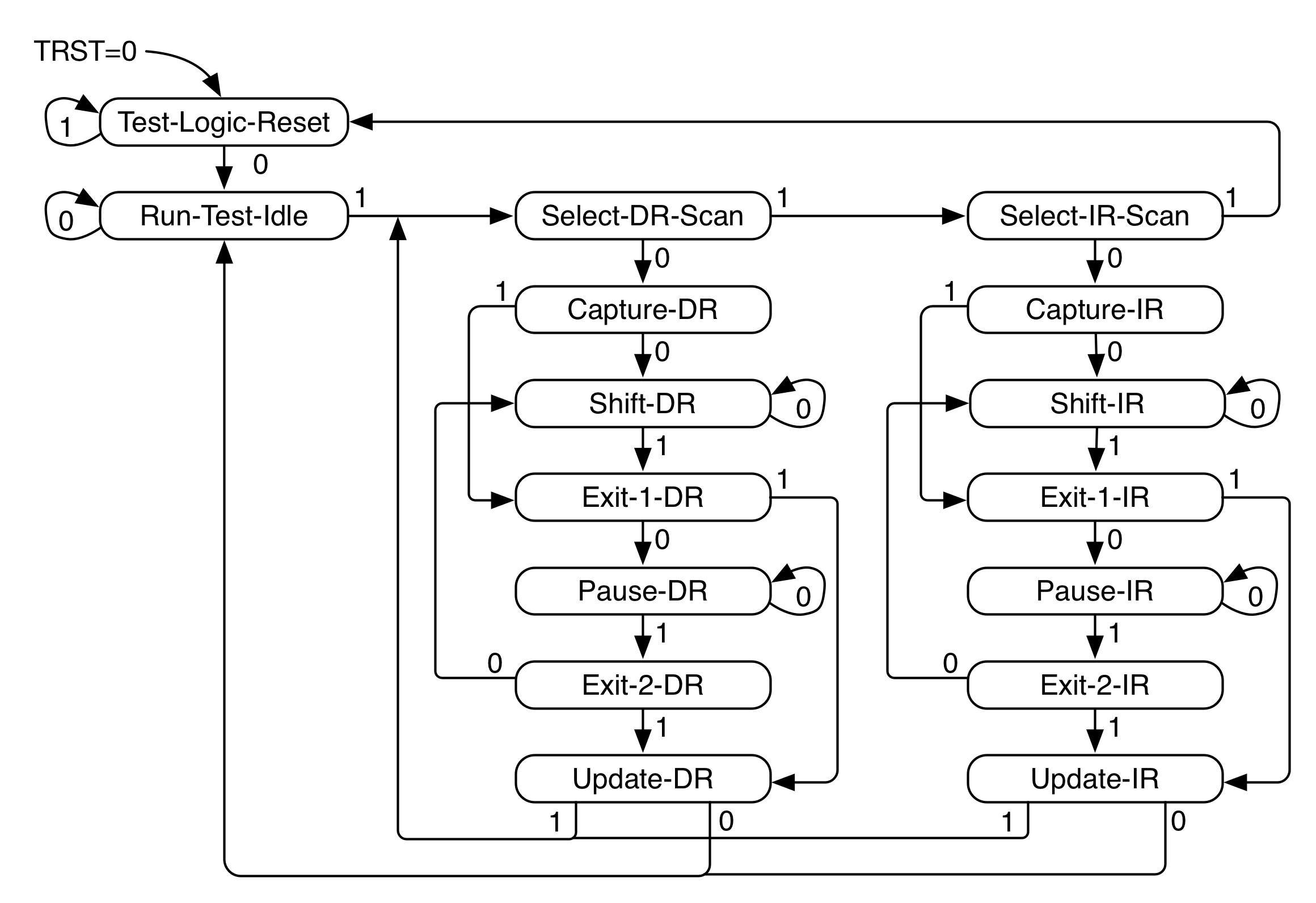
JTAG内部有一个TAP(Test Access Port)控制器(或者说状态机),通过TCK和TMS信号来改变状态机的状态。这个状态机的核心是两路SCAN,分别是IR SCAN和DR SCAN,TAP状态机如图2所示。

图2 TAP状态机
箭头上的0或1表示的是TMS信号的电平。JTAG在每一个TCK信号的上升沿采样TMS信号和TDI信号,决定状态机的状态是否发生变化,在每一个TCK信号的下降沿输出TDO信号。可以看到,无论TAP目前处于哪一个状态,只要TMS保持高电平并持续5个TCK时钟,则TAP一定会回到Test-Logic-Reset状态。
JTAG内部有一个IR(instruction register)寄存器和多个DR(data register)寄存器,IR寄存器决定要访问的是哪一个DR寄存器。DR寄存器有IDCODE、BYPASS等。在Test-Logic-Reset状态下IR寄存器默认选择的是IDCODE这个DR寄存器。
JTAG主机通过IR SCAN设置IR寄存器的值,然后通过DR SCAN来读、写相应的DR寄存器。
2.RISC-V调试Spec
调试模块在CPU芯片设计里是最为不起眼的,但又是最为复杂的模块之一,大部分开源的处理器IP都没有调试模块。
下面的内容基于RISC-V debug spec 0.13版本。
目前RISC-V的官方调试上位机是openocd,调试工具可以是JLink或者CMSIS-DAP,RISC-V调试系统框架如图3所示。
图3 RISC-V调试系统框架
可以看到主要分为3个部分,分别是Debug Host,可以理解为PC;Debug Hardware,可以理解为JLink或者CMSIS-DAP这样的调试工具;第三部分就是嵌入在芯片内部的调试模块。在调试模块内部,与调试工具直接交互的是DTM模块,DTM模块通过DMI接口与DM模块交互。
2.1DTM模块
在DTM模块里实现了一个TAP控制器(状态机),其中IR寄存器的长度最少为5位,当TAP控制器复位时,IR的值默认为5’b00001,即选择的是IDCODE寄存器。DTM模块的寄存器(DR寄存器)定义如图4所示。

图4 DTM寄存器
其中红色框起来的寄存器是必须要实现的。下面简单介绍一下这几个寄存器。
2.1.1 IDCODE寄存器(0x01)
当TAP状态机复位时,IR寄存器的值默认为0x01,即选择的是IDCODE寄存器。IDCODE寄存器的每一位含义如图5所示。IDCODE是只读寄存器。

图5 IDCODE寄存器
-
Version:只读,版本号,可为任意值。
-
PartNumber:只读,可为任意值。
-
Manufld:只读,厂商号,遵循JEP106标准分配,实际中可为任意值,只要不与已分配的厂商号冲突即可。
2.1.2 DTM控制和状态寄存器(dtmcs,0x10)
dtmcs寄存器的每一位含义如图6所示。

图6 dtmcs寄存器
-
dmihardreset:DTM模块硬复位,写1有效。
-
dmireset:清除出错,写1有效。
-
idle:只读,JTAG 主机在Run-Test-Idle状态停留的时钟周期数,0表示不需要进入Run-Test-Idle状态,1表示进入Run-Test-Idle状态后可以马上进入下一个状态,以此类推。
-
dmistat:只读,上一次操作的状态。0表示无出错,1或者2表示操作出错,3表示操作还未完成。
-
abits:只读,dmi寄存器中address域的大小(位数)。
-
version:只读,实现所对应的spec版本,0表示0.11版本,1表示0.13版本。
2.1.3 DM模块接口访问寄存器(dmi,0x11)
dmi寄存器的每一位含义如图7所示。

图7 dmi寄存器
-
address:可读可写,DM寄存器的长度(位数)。
-
data:可读可写,往DM寄存器读、写的数据,固定为32位。
-
op:可读可写,读或者写这个域时有不同的含义。当写这个域时,写0表示忽略address和data的值,相当于nop操作;写1表示从address指定的寄存器读数据;写2表示把data的数据写到address指定的寄存器。写3为保留值。当读这个域时,0表示上一个操作正确完成;1为保留值;2表示上一个操作失败,这个状态是会被记住的,因此需要往dtmcs寄存器的dmireset域写1才能清除这个状态。3表示上一个操作还未完成。
在Update-DR状态时,DTM开始执行op指定的操作。在Capture-DR状态时,DTM更新data域。
2.1.4 BYPASS寄存器(0x1f)
只读,长度为1,值固定为0。
2.2DM模块
从图3可知,DM模块访问RISC-V Core有两种方式,一种是通过abstract command,另一种是通过system bus。abstract command方式是必须要实现的,system bus的方式是可选的。
DM模块的寄存器都为32位,定义如图8所示。

图8 DM寄存器
下面介绍一下红色框起来这几个重要的寄存器。
2.2.1 data寄存器(data0~data11,0x04~0x0f)
这12个寄存器是用于abstract command的数据寄存器,长度为32位,可读可写。
2.2.2 DM控制寄存器(dmcontrol,0x10)
dmcontrol寄存器的每一位含义如图9所示。

图9 dmcontrol寄存器
-
haltreq:只写,写1表示halt(暂停)当前hart(hart表示CPU核,存在多核的情况)。
-
resumereq:只能写1,写1表示resume(恢复)当前hart,即go。
-
hartreset:可读可写,写1表示复位DM模块,写0表示撤销复位,这是一个可选的位。
-
ackhavereset:只能写1,写1表示清除当前hart的havereset状态。
-
hasel:可读可写,0表示当前只有一个已经被选择了的hart,1表示当前可能有多个已经被选择了的hart。
-
hartsello:可读可写,当前选择的hart的低10位。1位表示一个hart。
-
hartselhi:可读可写,当前选择的hart的高10位。1位表示一个hart。如果只有一个hart,那么hasel的值为0,hartsello的值为1,hartselhi的值为0。
-
setresethaltreq:只能写1,写1表示当前选择的hart复位后处于harted状态。
-
clrresethaltreq:只能写1,写1表示清除setresethaltreq的值。
-
ndmreset:可读可写,写1表示复位整个系统,写0表示撤销复位。
-
dmactive:可读可写,写0表示复位DM模块,写1表示让DM模块正常工作。正常调试时,此位必须为1。
2.2.3 DM状态寄存器(dmstatus,0x11)
dmstatus寄存器是一个只读寄存器,每一位含义如图10所示。

图10 dmstatus寄存器
-
impebreak:1表示执行完progbuf的指令后自动插入一条ebreak指令,这样就可以节省一个progbuf。当progbufsize的值为1时,此值必须为1。
-
allhavereset:1表示当前选择的hart已经复位。
-
anyhavereset:1表示当前选择的hart至少有一个已经复位。
-
allresumeack:1表示当前选择的所有hart已经应答上一次的resume请求。
-
anyresumeack:1表示当前选择的hart至少有一个已经应答上一次的resume请求。
-
allnonexistent:1表示当前选择的hart不存在于当前平台。
-
anynonexistent:1表示至少有一个选择了的hart不存在于当前平台。
-
allunavail:1表示当前选择的hart都不可用。
-
anyunavail:1表示至少有一个选择了的hart不可用。
-
allrunning:1表示当前选择的hart都处于running状态。
-
anyrunning:1表示至少有一个选择了的hart处于running状态。
-
allhalted:1表示当前选择的hart都处于halted状态。
-
anyhalted:1表示至少有一个选择了的hart处于halted状态。
-
authenticated:0表示使用DM模块之前需要进行认证,1表示已经通过认证。
-
authbusy:0表示可以进行正常的认证,1表示认证处于忙状态。
-
hasresethaltreq:1表示DM模块支持复位后处于halted状态,0表示不支持。
-
confstrptrvalid:1表示confstrptr0~3寄存器保存了配置字符串的地址。
-
version:0表示DM模块不存在,1表示DM模块的版本为0.11,2表示DM模块的版本为0.13。
2.2.4 abstract控制和状态寄存器(abstractcs,0x16)
abstractcs寄存器定义如图11所示。

图11 abstractcs寄存器
-
progbufsize:只读,program buffer的个数,取值范围为0~16,每一个的大小为32位。
-
busy:只读,1表示abstract命令正在执行,当写command寄存器后该位应该马上被置位直到命令执行完成。
-
cmderr:可读、只能写1,cmderr的值仅当busy位为0时有效。0表示无错误,1表示正在操作command、abstractcs、data或者progbuf寄存器,2表示不支持当前命令,3表示执行命令时出现异常,4表示由于当前hart不可用,或者不是处于halted/running状态而不能被执行,5表示由于总线出错(对齐、访问大小、超时)导致的错误,7表示其他错误。写1清零cmderr。
-
datacount:只读,所实现的data寄存器的个数。
2.2.5 abstract命令寄存器(command,0x17)
当写这个寄存器时,相应的操作就会被执行。command寄存器只能写,定义如图12所示。

图12 command寄存器
-
cmdtype:只写,命令类型,0为表示访问寄存器,1表示快速访问,2表示访问内存。
-
control:只写,不同的命令类型有不同的含义,说明如下。
当cmdtype为0时,control定义如图13所示。

图13 访问寄存器
-
cmdtype:值为0。
-
aarsize:2表示访问寄存器的最低32位,3表示访问寄存器的最低64位,4表示访问寄存器的最低128位。如果大于实际寄存器的大小则此次访问是失败的。
-
aarpostincrement:1表示成功访问寄存器后自动增加regno的值。
-
postexec:1表示执行progbuf里的内容(指令)。
-
transfer:0表示不执行write指定的操作,1表示执行write指定的操作。
-
write:0表示从指定的寄存器拷贝数据到arg0指定的data寄存器。1表示从arg0指定的data寄存器拷贝数据到指定的寄存器。
-
regno:要访问的寄存器。
综上,可知:
-
当write=0,transfer=1时,从regno指定的寄存器拷贝数据到arg0对应的data寄存器。
-
当write=1,transfer=1时,从arg0对应的data寄存器拷贝数据到regno指定的寄存器。
-
当aarpostincrement=1时,将regno的值加1。
-
当postexec=1时,执行progbuf寄存器里的指令。
arg对应的data寄存器如图14所示。

图14 arg对应的data寄存器
即当访问的寄存器位数为32位时,arg0对应data0寄存器,arg1对应data1寄存器,arg2对应data2寄存器。
当cmdtype为1时,control定义如图15所示。

图15 快速访问
- cmdtyte:值为1。
此命令会执行以下操作:
-
halt住当前hart。
-
执行progbuf寄存器里的指令。
-
resume当前hart。
当cmdtype为2时,control定义如图16所示。

图16 访问内存
-
cmdtype:值为2。
-
aamvirtual:0表示访问的是物理地址,1表示访问的是虚拟地址。
-
aamsize:0表示访问内存的低8位,1表示访问内存的低16位,2表示访问内存的低32位,3表示访问内存的低64位,4表示访问内存的低128位。
-
aampostincrement:1表示访问成功后,将arg1对应的data寄存器的值加上aamsize对应的字节数。
-
write:0表示从arg1指定的地址拷贝数据到arg0指定的data寄存器,1表示从arg0指定的data寄存器拷贝数据到arg1指定的地址。
-
target-specific:保留。
综上,可知:
-
当write=0时,从arg1指定的地址拷贝数据到arg0指定的data寄存器。
-
当write=1时,从arg0指定的data寄存器拷贝数据到arg1指定的地址。
-
当aampostincrement=1时,增加arg1对应的data寄存器的值。
2.2.6 系统总线访问控制和状态寄存器(sbcs,0x38)
sbcs寄存器定义如图17所示。

图17 sbcs寄存器
-
sbversion:只读,0表示system bus是2018.1.1之前的版本,1表示当前debug spec的版本,即0.13版本。
-
sbbusyerror:只读,写1清零,当debugger要进行system bus访问操作时,如果上一次的system bus访问还在进行中,此时会置位该位。
-
sbbusy:只读,1表示system bus正在忙。在进行system bus访问前必须确保该位为0。
-
sbreadonaddr:可读可写,1表示每次往sbaddress0寄存器写数据时,将会自动触发system bus从新的地址读取数据。
-
sbaccess:可读可写,访问的数据宽度,0表示8位,1表示16位,2表示32位,3表示64位,4表示128位。
-
sbautoincrement:可读可写,1表示每次system bus访问后自动将sbaddress的值加上sbaccess的大小(字节)。
-
sbreadondata:可读可写,1表示每次从sbdata0寄存器读数据后将自动触发system bus从新的地址读取数据。
-
sberror:可读,写1清零,0表示无错误,1表示超时,2表示访问地址错误,3表示地址对齐错误,4表示访问大小错误,7表示其他错误。
-
sbasize:只读,system bus地址宽度(位数),0表示不支持system bus访问。
-
sbaccess128:只读,1表示system bus支持128位访问。
-
sbaccess64:只读,1表示system bus支持64位访问。
-
sbaccess32:只读,1表示system bus支持32位访问。
-
sbaccess16:只读,1表示system bus支持16位访问。
-
sbaccess8:只读,1表示system bus支持8位访问。
2.2.7 系统总线地址0寄存器(sbaddress0,0x39)
可读可写,如果sbcs寄存器中的sbasize的值为0,那么此寄存器可以不用实现。
当写该寄存器时,会执行以下流程:
-
设置sbcs.sbbusy的值为1。
-
从新的sbaddress地址读取数据。
-
如果读取成功并且sbcs.sbautoincrement的值为1,则增加sbaddress的值。
-
设置sbcs.sbbusy的值为0。
2.2.8 系统总线数据0寄存器(sbdata0,0x3c)
可读可写,如果sbcs寄存器中的所有sbaccessxx的值都为0,那么此寄存器可以不用实现。
当写该寄存器时,会执行以下流程:
-
设置sbcs.sbbusy的值为1。
-
将sbdata的值写到sbaddress指定的地址。
-
如果写成功并且sbcs.sbautoincrement的值为1,则增加sbaddress的值。
-
设置sbcs.sbbusy的值为0。
当读该寄存器时,会执行以下流程:
-
准备返回读取的数据。
-
设置sbcs.sbbusy的值为1。
-
如果sbcs.sbautoincrement的值为1,则增加sbaddress的值。
-
如果sbcs.sbreadondata的值为1,则开始下一次读操作。
-
设置sbcs.sbbusy的值为0。
3.RISC-V调试上位机分析
RISC-V官方支持的调试器上位机是openocd。openocd是地表最强大(没有之一)的开源调试上位机,支持各种target(ARM(M、A系列)、FPGA、RISC-V等),支持各种调试器(Jlink、CMSIS-DAP、FTDI等),支持JTAG和SWD接口。
这里不打算详细分析整个openocd的实现,只是重点关注针对RISC-V平台的初始化、读写寄存器和读写内存这几个流程。
3.1 openocd启动过程
openocd启动时需要通过-f参数制定一个cfg文件,比如:
openocd.exe -f riscv.cfg
riscv.cfg文件的内容如下:
adapter_khz 1000
reset_config srst_only
adapter_nsrst_assert_width 100
interface cmsis-dap
transport select jtag
set _CHIPNAME riscv
jtag newtap $_CHIPNAME cpu -irlen 5 -expected-id 0x1e200a6d
set _TARGETNAME $_CHIPNAME.cpu
target create $_TARGETNAME riscv -chain-position $_TARGETNAME
-
第一行设置TCK的时钟为1000KHz。
-
第二行表示不支持通过TRST引脚复位,只支持TMS为高电平并持续5个TCK时钟这种方式的复位。
-
第三行是复位持续的延时。
-
第四行指定调试器为CMSIS-DAP。
-
第五行指定调试接口为JTAG。
-
第六行指定调试的target类型为riscv。
-
第七行指定生成一个IR寄存器长度为5位、IDCODE为0x1e200a6d的JTAG TAP。
-
第八、九行指定生成一个riscv target。
openocd启动时的主要流程如图18所示。
图18 openocd启动流程
下面重点关注一下examine target这个流程。
这里的target是指riscv,对于riscv,首先会读取dtmcontrol这个寄存器,因为openocd支持0.11和0.13版本的DTM,通过这个寄存器可以知道当前调试的DTM是哪一个版本。这里选择0.13版本来分析。通过读取dtmcontrol,还可以知道idle、abits这些参数。接下来会将dmcontrol这个寄存器的dmactive域写0后再写1来复位DM模块。接下来再读取dmstatus,判断version域是否为2。接下来还会读取sbcs和abstractcs寄存器,最后就是初始化每一个hart的寄存器。
3.2 read register过程
读寄存器时,先构建command寄存器的内容,首先将cmdtype的值设为0,aarsize的值设为2(寄存器的宽度为32位),transfer的值设为1,regno的值设为要读的寄存器的number,其他值设为0,然后写到command寄存器里。然后一直读取abstractcs寄存器,直到abstractcs寄存器的busy位为0或者超时。然后再判断abstractcs寄存器的cmderr的值是否为0,如果不为0则表示此次读取寄存器失败,如果为0则继续读取data0寄存器,这样就可以得到想要读的寄存器的值。
3.3 write register过程
写寄存器时,先将需要写的值写到data0寄存器,然后构建command寄存器的内容,首先将cmdtype的值设为0,aarsize的值设为2(寄存器的宽度为32位),transfer的值设为1,write的值设为1,regno的值设为要写的寄存器的number,其他值设为0,然后写到command寄存器里。然后一直读取abstractcs寄存器,直到abstractcs寄存器的busy位为0或者超时。然后再判断abstractcs寄存器的cmderr的值是否为0,如果不为0则表示此次写寄存器失败,如果为0则表示写寄存器成功。
3.4 read memory过程
如果progbufsize的值大于等于2,则会优先使用通过执行指令的方式来读取内存。这里不分析这种方式,而是分析使用system bus的方式。通过前面的分析可知,system bus有两个版本V0和V1,这里以V1版本来说明。
先将sbcs寄存器的sbreadonaddr的值设为1,sbaccess的值设为2(32位),然后将要读内存的地址写入sbaddress0寄存器。接着读sbdata0寄存器,最后读sbcs寄存器,如果其中的sbbusy、sberror和sbbusyerror都为0,则从sbdata0读取到的内容就是要读的内存的值。
3.5 write memory过程
和read memory类似,同样以V1版本来说明。
先将要写的内存地址写到sbaddress0寄存器,然后将要写的数据写到data0寄存器,最后读sbcs寄存器,如果其中的sbbusy、sberror和sbbusyerror都为0,则此次写内存成功。
4.RISC-V JTAG的实现
通过在STM32F103C8T6上实现(模拟)RISC-V调试标准,进一步加深对RISC-V JTAG调试的理解。
使用STM32的四个GPIO作为JTAG信号的四根线,其中TCK所在的引脚设为外部中断,即上升沿和下降沿触发方式,实现了可以通过openocd以RISC-V的调试标准来访问STM32的寄存器和内存。程序流程如图19所示,完整的工程代码见[2]。verilog的实现见[3]。
图19 JTAG实现的程序流程
5.参考资料
-
RISC-V External Debug Support Version 0.13-DRAFT(f2873e71b728cb65dceb6605a05c147b752e257c)。
-
在STM32上模拟RISC-V JTAG的实现:stm32_riscv_jtag_slave。
-
一个从零开始写的易懂的RISC-V处理器核:tinyriscv。